聯系人:王經理
銷售電話:15610293837
銷售QQ:2962700085
公司地址:山東省濰坊高新區新城街道玉清社區光電路155號濰坊高新區光電產業加速器(一期)1號樓301

PRODUCT CENTER
聯系人:王經理
銷售電話:15610293837
銷售QQ:2962700085
公司地址:山東省濰坊高新區新城街道玉清社區光電路155號濰坊高新區光電產業加速器(一期)1號樓301
一體化防爆氣象儀又稱一體化防爆氣象傳感器,防爆氣象傳感器,一體化防爆氣象儀是一款高度集成并具有防爆功能的氣象儀器,可安裝在易燃易爆環境中準確測量各種氣象數據,可用于化工廠、油庫等領域。
一、一體化防爆氣象儀產品簡介
一體化防爆氣象儀又稱一體化防爆氣象傳感器,防爆氣象傳感器,一體化防爆氣象儀是一款高度集成并具有防爆功能的氣象儀器,可安裝在易燃易爆環境中準確測量各種氣象數據,可用于化工廠、油庫等領域。
山東萬象環境科技科技有限公司作為專業研發生產銷售一體化防爆氣象傳感器的企業,一直致力于微型氣象儀和氣象環境解決方案推廣應用。具有完整的生產鏈、實力雄厚的技術團隊和全面的營銷團隊,我們研發生產的超聲波防爆風速風向儀、防爆五要素微氣象儀等氣象產品,已廣泛應用到化工廠、油庫、隧道、礦井等領域,客戶遍布全國各地,并取得了良好的社會效益和經濟效益。
與傳統的微型氣象儀相比,我司產品克服了對高精度計時器的需求,避免了因傳感器啟動延時、解調電路延時、溫度變化而造成的測量不準問題。
WX-WFB5型防爆五要素微氣象儀創新性地將風速、風向、溫度、濕度、大氣壓力通過一個高集成度結構來實現,可實現戶外氣象參數24小時連續在線監測,通過數字量通訊接口將五項參數一次性輸出給用戶。
二、一體化防爆氣象儀產品特點
1、頂蓋隱藏式超聲波探頭,避免雨雪堆積的干擾,避免自然風遮擋
2、原理為發射連續變頻超聲波信號,通過測量相對相位來檢測風速風向
3、風速、風向、溫度、濕度、大氣壓力五要素一體式
4、采用先進的傳感技術,實時測量,無啟動風速
5、抗干擾能力強,具有看門狗電路,自動復位功能,保證系統穩定運行
6、高集成度,無移動部件,零磨損
7、免維護,無需現場校準
8、采用ASA工程塑料室外應用常年不變色
9、產品設計輸出信號標配為RS485通訊接口(MODBUS協議);可選配232、USB、以太網接口,支持數據實時讀取☆
10、可選配無線傳輸模塊,最小傳輸間隔1分鐘
11、探頭為卡扣式設計,解決了運輸、安裝過程松動不準的問題☆
三、一體化防爆氣象儀技術參數
1)風速:原理超聲波,0~70m/s(±0.1m/s);
2)風向:原理超聲波0~360°(±1°);
3)空氣溫度:原理二極管結電壓法,-40℃~85℃(±0.3℃);
4)空氣濕度:原理電容式,0~100%RH(±2%RH);
5)大氣壓力:原理壓阻式,300hPa~1100hPa(±0.02hPa);
6)生產企業具有Ex ia IIC T6 Ga高等級防爆證書☆
7)通過國家電器安全質量檢驗檢測中心檢驗☆
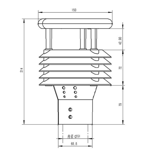
四、一體化防爆氣象儀產品尺寸圖
五、一體化防爆氣象儀產品結構圖
1、控制電路
2、指北箭頭
3、超聲波探頭
4、百葉箱
5、溫度、濕度、氣壓監測位置
6、底部固定法蘭
※此產品可選配電子羅盤、GPRS(內置)/GPS(二選一)
六、產品接線定義
VCC:棕色,GND:黑色,485A:綠色,485B:藍色
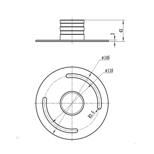
七、法蘭盤固定方式
1、微氣象儀
2、固定螺釘
3、通信電纜+航插
法蘭盤尺寸
WX-YJ1雨量監測器其核心競爭力在于對雨量的精準監測。通過內置的高精度傳感器,它能夠實時捕捉并記錄降雨量、降雨強度及降雨持續時間等關鍵數據,并將這些信息迅速傳輸至云端或指定平臺。這意味著,無論是城市管理者還是農業從業者,都能第一時間獲取到最準確的降雨信息,為接下來的決策提供科學依據。···
GNSS監測儀利用衛星定位技術,實時接收衛星信號并計算出山體表面的三維坐標。通過連續監測這些坐標的變化,可以判斷山體是否發生了位移,進而預測山體滑坡的風險。此外,GNSS監測儀還具備數據傳輸功能,可以將監測數據實時傳輸到數據中心,供專家進行進一步分析和處理。山體滑坡監測預警系統有非常多的優勢,比如不受天氣和光照條件的影響,可以全天候進行監測;通過布置多個GNSS監測點···
WX-DSW4地下水位監測設備的工作原理基于靜水壓力原理,即壓力與水深成正比。設備通過水壓敏感集成元器件作為傳感器探頭,固定在水下某一測點,測量該測點以上水柱的壓力高度,并結合該點的高程,間接測量出水位的高低。這種高精度的測量方式,確保了數據的準確性和可靠性。在水資源管理方面,地下水位監測設備發揮著至關重要的作用。···
WX-YG2云高儀可以幫助氣象工作者更準確地判斷云的類型和高度,工作原理就是通過激光或雷達等技術發射信號,然后接收信號的反射,根據信號的時間差計算出云層的高度,為天氣預報提供重要依據。可以實現自動化測量和數據記錄,減少了人工操作的誤差和繁瑣性,既可手動單次測量,也可自動連續工作。···
WX-FB01S防爆自動氣象站的最大亮點在于其強大的數據分析與預警能力。通過內置的算法模型,它能實時分析收集到的數據,預測極端天氣或不利氣象條件的發展趨勢,及時向管理人員發送預警信息。這意味著,無論是突如其來的暴雨、雷電,還是持續的高溫、干旱,企業都能提前采取措施,調整生產計劃,甚至啟動應急預案,有效避免因氣象因素引發的安全事故。···
WX-HTC1小蟲體蟲情測報儀是一種專門用于監測和預警小型昆蟲(如稻飛虱、葉蟬科、綠盲蝽等)發生情況的專業設備。它采用了先進的傳感器技術和數據處理算法,能夠自動完成誘蟲、殺蟲、圖像采集等一系列操作,并將監測數據實時上傳至云端平臺,供用戶進行分析和決策。該設備的核心優勢在于其高精度和智能化。通過采用光學誘蟲和負壓風機吸入的方式,小蟲體蟲情測報儀能夠高效捕捉目標昆蟲,并利用高清攝像頭進行圖像采集。···